2023年全国职业院校技能大赛中职组物联网应用与服务任务书(I卷)
竞赛须知
一、注意事项
1.检查硬件设备、电脑设备是否正常。检查竞赛所需的各项设备、软件和竞赛材料等;
2.竞赛任务中所使用的各类软件工具、软件安装文件等,都已拷贝至 U 盘上,根据竞赛任务要求自行使用;
3.竞赛过程中应严格按照竞赛任务中的描述,对各物联网设备进行安装配置、操作使用,对于竞赛前已经连接好的设备,可能与后续的竞赛任务有关,请勿变动;
4.提交的答案资料必须存储到指定位置,未存储到指定位置的答案均不得分;
4.竞赛任务完成后,需要保存设备配置,不要关闭任何设备,不要拆动硬件的连接,不要对设备随意加密。
二、竞赛环境
| 序号 | 设备名称 | 单位 | 数量 |
| 1 | 物联网竞赛技术平台 | 套 | 1 |
| 2 | 物联网工具箱及耗材包 | 套 | 1 |
| 3 | 服务器(计算机上有标注) | 台 | 1 |
| 4 | 工作站(计算机上有标注) | 台 | 1 |
模块A:物联网工程实施与网络搭建(50分)
根据要求完成相应的任务,本模块的结果文件需保存到服务器计算机上的“D:\提交资料\模块A”文件夹下,若没有该文件夹,则需参赛选手自行创建该文件夹。同时将该文件夹全部拷贝到赛事统一发放的U盘根目录下,比赛结束后该U盘作为比赛成果提交。
模块A:物联网设备的安装和部署
按照下图,选择合适的设备安装到工位上,要求设备安装工艺标准、正确,设备安装位置工整、美观,连线整洁工整美观。
任务要求:
工位设备安装布局图如下图所示:
1.将扫描枪、打印机与服务器计算机连接好相关数据线并放到服务器计算机的桌子上面,且摆放整齐。
2.要求A-Q1区域中的激光对射模组和A-Q2、A-Q3区域中的设备通过A-Q3区域中的IoT采集器1实现数据通讯与控制。
3.要求B-Q2区域中多合一传感器RS485直连中心网关,上报云服务系统。
4.要求C-Q2区域中的设备通过该区域中的串口终端实现数据通讯。
5.要求C-Q3区域中的设备通过该区域中的IoT采集器2实现数据通讯与控制。
6.传感器采集设备统一经过中心网关上报云服务系统。
7.其他未明确线路连接方式的区域请选手自行确认。
8.要求选手在划分区域的线槽盖上粘上黑色电工胶带,表示该线槽是区域分割线。选手需自行制作合格的网线,若选手无法实现,可以填写“协助申请单”后,领取成品网线,但提出申请后,将按标准扣分。该网线处理不好,会影响后续部分任务完成。
任务A-2:感知层设备的连接和配置
任务要求:
1.参赛选手自行选择合适的端口,完成所安装设备的连接和配置,并根据下表设置云服务系统相关的设备参数。
| 名称 | 云服务系统标识 |
| RGB灯带 – 红 | m_rgb_red |
| RGB灯带 – 绿 | m_rgb_green |
| RGB灯带 – 蓝 | m_rgb_blue |
| 水浸传感器 | m_water_immersion |
| 二氧化碳变送器 | m_co2 |
| 多合一传感器 – 人体 | m_multi_body |
| 多合一传感器 – pm2.5 | m_multi_pm25 |
| 多合一传感器 – 温度 | m_multi_temp |
| 多合一传感器 – 湿度 | m_multi_hum |
| 超声波传感器 | m_ultrasonic |
| 百叶箱传感器 – 温度 | m_louverbox_temp |
| 百叶箱传感器 – 湿度 | m_louverbox_hum |
| 噪声 | m_noise |
| 温湿度传感器 – 温度 | m_temp |
| 温湿度传感器 – 湿度 | m_hum |
| 光照传感器 | m_light |
| 风速传感器 | m_wind_speed |
| 安全光幕传感器 | m_light_curtain |
| 火焰传感器 | m_fire |
| 烟雾探测器 | m_smoke |
| 微波感应开关 | m_microwave |
| 行程开关(单轮式) | m_travelSwitch_singleWheel |
| 接近开关 | m_near |
| 限位开关 | m_limit |
| 行程开关 | m_travelSwitch |
| 激光对射模组 | m_laser |
| 频闪红灯 | m_strobe_red |
| 频闪黄灯 | m_strobe_yellow |
| 常亮绿灯 | m_steady_green |
| 常亮白灯 | m_steady_white |
| 转动指示灯 | m_rotating_lamp |
| LED灯泡 | m_lamp |
| 风扇 | m_fan |
| 多层指示灯 – 红灯 | m_multi_red |
| 多层指示灯 – 黄灯 | m_multi_yellow |
| 多层指示灯 – 绿灯 | m_multi_green |
| 直流电动推杆 – 前进 | m_pushrod_putt |
| 直流电动推杆 – 后退 | m_pushrod_back |
| ZigBee人体 | z_body |
| ZigBee温度 | z_temp |
| ZigBee湿度 | z_hum |
| ZigBee光照 | z_light |
| ZigBee火焰 | z_fire |
| ZigBee风扇 | z_fan |
| ZigBee灯泡 | z_lamp |
2.硬件设备未出现在此表中,则由参赛选手自行设置参数。
任务A-3:ZigBee模块的烧写与配置
参赛选手参考下表所给定的参数配置任务要求,根据任务要求完成对主控器、传感器模块、继电器模块的参数配置。
| 设备 | 参数 | 值 |
| 所有模块 | 网络号(PanID) | 根据给定的参数设定 |
| 信道号(Channel) | 根据给定的参数设定 | |
| 序列号 | 自行设定 |
任务要求:
将ZigBee协调器设置的界面截图,另存为A-3-1.jpg。
任务A-4:综合显示屏的调试
选手根据任务要求,完成综合显示屏的调试并提交相关材料。
任务要求:
1.要求调试综合显示屏显示如下文字效果(注:工位号以实际为准):
2.完成以上任务后做以下步骤:
利用网络摄像头抓拍综合显示屏显示内容,要求照片文字清晰可辨,照片另存为A-4-1.jpg。
任务A-5:Lora通讯设备的安装配置
| 设备 | 配置项 | 配置值 |
| LoRa网关 | 设备标识符 | LoRaGate+【两位工位号】
例如:8号工位设备标识符为 LoRaGate08 |
| 设备数量 | 1 | |
| 设备频率 | 4200+【工位号】*5,
如1号工位4200+5=4205 2号工位4200+2×5=4210 | |
| 网络ID | 自行设置 | |
| NS1 | 参数 | 二氧化碳 |
| 标识 | l_co2 | |
| 工作模式 | LoRa模式 | |
| 设备地址 | 1 | |
| Lora频段 | 4200+【工位号】*5 |
任务A-6:路由器的配置
参赛选手完成无线路由器的相关配置,如果无法进入路由器管理界面需自行将路由器重置成出厂设置,再访问管理地址并重新设定管理密码后,方可进入管理界面,现场将提供一根专门的网线用于连接到云服务系统(访问地址: http://192.168.0.138)。
| 网络配置项 | 配置内容 |
| 网络设置 | |
| WAN口连接类型 | 固定IP地址 |
| IP地址 | 192.168.0.【工位号】 |
| 子网掩码 | 255.255.255.0 |
| 网关 | 192.168.0.254 |
| 无线设置 | |
| 无线网络功能 | 关闭无线网络 |
| 局域网设置 | |
| LAN口IP设置 | 手动 |
| IP地址 | 172.18.【工位号】.1 |
| 子网掩码 | 255.255.255.0 |
任务要求:
1.将路由器、交换机、服务器、工作站、串口服务器、网络摄像头、物联网中心网关等设备组成局域网,并确保整个网络畅通。路由器LAN口数量不足,可使用交换机进行扩展LAN口的数量。
2.完成以上任务后做以下步骤:
(1)将路由器上网设置的界面截图,另存为A-6-1.jpg。
(2)将路由器LAN口设置的界面截图,另存为A-6-2.jpg。
(3)将路由器设置关闭无线网络功能的界面截屏,另存为A-6-3.jpg。
(4)打开浏览器,进入物联网云服务系统首页界面截图,要求截图体现登录用户信息,截图另存为A-6-4.jpg。
任务A-7:局域网各设备IP配置
任务要求:
1.选手按照下表的内容设置设备的IP地址、子网掩码、网关地址等的设定,各设备网络接口方式自行设定,并确保整个网络畅通。
| 序号 | 设备名称 | 配置内容 |
| 1 | 服务器 | IP地址:172.18.【工位号】.11 |
| 2 | 工作站 | IP地址:172.18.【工位号】.12 |
| 3 | 网络摄像头 | IP地址:172.18.【工位号】.13 |
| 4 | 物联网应用开发终端 | IP地址:172.18.【工位号】.14 |
| 5 | 串口服务器 | IP地址:172.18.【工位号】.15 |
| 6 | 物联网中心网关 | IP地址:172.18.【工位号】.16 |
| 7 | 虚拟机(Ubuntu) | IP地址:172.18.【工位号】.17
账号:admin 密码:password |
| 9 | A-Q3区IoT采集器1 | IP地址:172.18.【工位号】.18 |
| 10 | C-Q3区IoT采集器2 | IP地址:172.18.【工位号】.19 |
| 11 | C-Q2区串口终端 | IP地址:172.18.【工位号】.20 |
2.利用IP扫描工具,扫描局域网中的各终端IP地址。要求需检测出除Ubuntu系统外要求配置的其他IP。
3.完成以上任务后做以下步骤:
(1)将扫描到的IP地址截图,另存为A–7-1.jpg。
(2)将A-Q3区IoT采集器1配置IP的界面截图,另存为A–7-2.jpg。
(3)将C-Q3区IoT采集器2配置IP的界面截图,另存为A–7–3.jpg。
(4)将C-Q2区串口终端配置IP的界面截图,另存为A–7–4.jpg。
任务A-8:AIOT系统实施
系统需要实时监测大厅的光照、温度、湿度,监测厨房的烟雾,地面是否有水,监测卧室是否有人,楼道入户门是否关紧,并在室内装有警示灯在发生异常时提示业主,业主特别要求不改动室内的装修。请参赛选手使用提供的AIOT账号登录系统,根据任务要求完成相关任务。
任务要求:
1.该系统采用ZigBee通讯方案。
2.在虚拟仿真界面中,根据需求完成智能家居设备的选型、连线,配置。
3.配置各设备每隔5秒生成一个随机值,温度范围设定在-10℃-60℃之间,湿度范围设定在0%-100%之间,光照范围设定在0Lux-20000Lux之间。人体、水浸、门磁要求生成随机值,间隔5秒,开启模拟实验。
4.在虚拟机终端界面下载HomeAssistant安装文件(下载链接见关键信息表),使用命令解压缩下载的文件。
5.配置m2m容器使用的MQTT服务地址和端口。
6.启动HomeAssistant服务所需的相关docker容器(该过程需要耗费一定的时间,请耐心等待)。
7.在HomeAssistant配置文件中完成MQTT服务的正确配置。
8.打开HomeAssistant页面,使用给定的AIOT系统账号和密码完成用户注册,确保与设备的数据通讯。
9.根据下表要求将HomeAssistant上的设备名称修改成中文名称。
| 序号 | 中文名称 | 英文名称 |
| 1 | 人体 | occupancy |
| 2 | 烟雾 | smoke |
| 3 | 温度 | temperature |
| 4 | 湿度 | humidity |
| 5 | 光照 | illuminance |
| 6 | 水浸 | waterleak |
| 7 | 警示灯 | alarm |
| 8 | 门磁 | contact |
10.在HomeAssistant平台添加一个名为“智能家居”的仪表盘,为此仪表盘添加一个“图片元素”卡片,根据以下效果完成卡片的配置。
11.根据以下要求完成自动化配置。
| 序号 | 名称 | 具体要求 |
| 1 | 报警灯开 | 在报警灯关闭的环境情况中,检测到烟雾或者水浸信息时,打开报警灯。 |
| 2 | 报警灯关 | 在报警灯打开的环境情况中,烟雾和水浸信息都未检测到时,关闭报警灯。 |
12.完成以上任务请做以下操作:
(1)在虚拟仿真界面开启模拟实验后,进行界面截图,另存为A-8-1.jpg。
(2)将m2m配置文件界面截图,另存为A-8-2.jpg。要求截图中可以看到具体的配置内容。
(3)将HomeAssistant配置MQTT服务文件界面截图,另存为A-8-3.jpg。要求截图中可以看到MQTT服务相关的配置信息。
(4)将HomeAssistant的概览界面截图,另存为A-8-4.jpg。要求在截图中可以看到要求修改的中文设备名称。
(5)将HomeAssistant的“智能家居”仪表盘界面截图,另存为A-8-5.jpg。要求截图中可以看到各传感器和执行器的具体监测数值。
(6)将HomeAssistant的自动化配置管理界面截图,另存为A-8-6.jpg。要求截图中可以看到配置的两条自动化规则,并且“上次触发”时间都有值。
任务A-9:职业素养
在项目施工过程中需要安全可靠地选择、使用工具,正确的选择设备,安装稳固、设备部件均匀排布、设备对齐、间距相等、整齐美观;布线合理、所有线都装入线槽。施工完成后需对地板卫生进行打扫、对桌面进行整理、对工具设备进行还原。
任务要求:
1.赛位区域地板、桌面等处卫生打扫。
2.使用的工具还原规整、设备摆放工整、设备手提箱的规整等。
3.工位设备安装整齐、设备部件均匀排布、布线合理美观等。
模块B:物联网应用部署与技术服务(30分)
根据要求完成相应的任务,本模块的结果文件需保存到服务器计算机上的“D:\提交资料\模块B”文件夹下,同时将该文件夹全部拷贝到赛事统一发放的U盘根目录下。比赛结束后该U盘作为比赛成果提交。
任务B-1:物联网中心网关的配置
选手根据要求完成中心网关的配置。
任务要求:
1.要求完成TCP连接参数配置并启动,将中心网关数据发送到物联网云服务系统。
2.根据工位上设备安装情况自行将传感器和执行器添加到网关配置信息中。保证云服务系统可以获取到传感器实时数据和执行器工作状态,可以控制执行器工作状态。
3.中心网关和云服务系统之间的通讯采用TCP连接,请选手使用Visio软件绘制TCP 4次挥手时序图。
四次挥手逻辑:
(1)第一次挥手:Client将FIN(finish)置为1,发送一个序列号seq=m给Server;进入FIN_WAIT_1状态。
(2)第二次挥手:Server收到FIN之后,发送一个ACK=1,acknowledge number=m+1;进入CLOSE_WAIT状态。此时客户端已经没有要发送的数据了,但仍可以接受服务器发来的数据。
(3)第三次挥手:Server将FIN置1,发送一个序列号seq=k给Client;进入LAST_ACK状态。
(4)第四次挥手:Client收到服务器的FIN后,进入TIME_WAIT状态;接着将ACK置1,发送一个acknowledge number=k+1给服务器;服务器收到后,确认acknowledge number后,变为CLOSED状态,不再向客户端发送数据。客户端等待2*MSL(报文段最长寿命)时间后,也进入CLOSED状态。完成四次挥手。
4.完成以上任务后做以下步骤:
(1)将中心网关配置TCP连接参数的界面截图,另存为B-1-1.jpg,要求截图中可以看到连接物联网云服务系统相关的配置信息。
(1)将A-Q3区IoT采集器1相关连接器的配置界面截图,另存为B-1-2.jpg。
(2)将C-Q3区IoT采集器2相关连接器的配置界面截图,另存为B-1-3.jpg。
(3)将C-Q2区串口终端相关连接器的配置界面截图,另存为B-1-4.jpg。
(4)将中心网关中添加C-Q3区光照传感器的配置界面截图,另存为B-1-5.jpg。
(5)将中心网关中添加B-Q2区多合一传感器中温度的配置界面截图,另存为B-1-6.jpg。
(6)将中心网关zigbee数据监控界面截图,要求截图体现检测到人体信号,LED灯泡点亮,截图另存为B-1-7.jpg。
(7)依据TCP四次挥手的说明,用visio绘制TCP四次挥手的时序图,要求时序图图中体现TCP关键标示,服务器/客户端当前状态,将结果文档另存为B-1-8.vsdx。
任务B-2:物联网云服务系统系统的配置
使用浏览器访问物联网云服务系统(访问地址:http://192.168.0.138),根据以下任务要求完成相关任务。
任务要求:
1.注册一个新用户(个人注册),新用户名为“138311111+2位工位号”(不足两位的前面补0,如工位号为5,则为13831111105),密码随意设置;然后退出,用新用户名重新登录,记住密码。
2.务必使用记住该密码,否则将造成裁判无法进入物联网云服务系统评分,由此造成的后果由选手自行承担。
3.为此用户生成有效的ApiKey。
4.打开云服务系统/开发文档/应用开发/API在线调试/API调试工具页面,默认处于用户登录API调试(users/login)界面,在包体请求参数,添加并输入新增的用户账号和密码,点击发送请求,调试工具右侧会显示返回登录结果。
5.在开发者中心添加一个项目,项目名称为“项目+2位工位号”(如工位号为5,则为:项目05),并在此项目下添加一个物联网网关设备,名称为“物联网网关+2位工位号”(如工位号为5,则为:物联网网关05),其相关参数选手按正确方法自行设置。
6.同步中心网关的配置信息至物联网云服务系统。
7.完成以上任务后做以下步骤:
(1)将生成apiKey的页面截图,另存为B-2-1.jpg。
(2)将API调试工具页面用户登录正确并返回登录用户Token信息的页面截图,另存为B-2-2.jpg。
(3)将开发者中心的该中心网关对应的“设备传感器”页面截图,另存为B-2-3.jpg。要求截图中可以看到中心网关在线,并且中心网关的传感器和执行器打开实时数据信息显示,上报数据大于0。
任务B-3:云服务系统应用软件部署


任务要求:
1.在已部署的“智能环境云”软件上,添加一个场景名为“矿井监测”,并按下表添加传感器,其他未指明的参数自行设定。添加完成后启动场景。
| 序号 | 传感器名称 | 标识名 | 传输类型 | 数据类型 | 数据范围 | 单位 |
| 1 | 二氧化碳 | l_co2 | 只上报 | 浮点型 | 1-5000 | ppm |
2.利用工位上已经安装好的NS(LoRa)和LoRa网关,添加一个二氧化碳参数,自行联通,使智能环境云产生的二氧化碳仿真数据(5秒刷新一次),经NS(LoRa)和LoRa网关上报到云服务系统。
3.在云服务系统上使用应用管理模块的项目生成器软件创建应用,名为“矿井监控”。
4.从云服务系统采集传感器值并显示:二氧化碳、烟雾。
5.从云服务系统采集、控制执行器状态并显示:报警灯和风扇(zigbee双联继电器)。
6.使用竞赛资料包提供的图片资料,搭建场景,应用界面布局合理美观。
7.当烟雾传感器未检测到烟雾信号,显示“正常”。
8.当烟雾传感器检测到烟雾信号,显示“报警”。
9.配置“云服务系统的策略功能”,当检测到烟雾时,报警灯报警,风扇启动;当未检测到烟雾时,报警灯停止报警,风扇停止。
10.完成以上任务后请做以下步骤:
(1)请在云服务系统上将该应用进行发布,使应用可以直接进入浏览。将应用管理页面截屏,要求截图体现应用已发布,截图另存为B-3-1.jpg。
(2)将设置好的“策略管理”界面(要求能体现条件表达式并启用)进行截图,另存为B-3-2.jpg。
(3)将云服务系统上“矿井监控”应用下载,另存为B-3-3.zip。
任务B-4:行业应用软件的部署
根据要求完成物联网软件的部署和配置,完成相关任务。
任务要求:
1.在服务器计算机的SQL Server数据库中附加智能市政软件数据库,要求将数据库相关文件保存到“C:\Municipal\”这个文件夹中。
2.在工作站计算机完成PC端智能市政软件的安装与配置,使用默认账号登录该软件。
3.完成以上任务后做以下步骤:
(1)智能市政数据库附加完成后将该数据对应的文件属性页截图,另存为B-4-1.jpg。要求在截图中使用红圈圈出数据库文件对应的保存路径。
(2)将PC端智能市政软件的系统配置中云服务系统配置页面截图,另存为B-4-2.jpg。要求截图中的用户信息与云服务系统注册信息一致。
任务B-5:Windows系统维护
Windows操作系统完成安装后,为了方面管理,我们需要根据实际情况进行相关配置。
任务要求:
1.在cmd窗口,写出将u盘的“竞赛资料”目录树结构生成到B-5-1.txt的命令行语句,并执行。
2.在cmd窗口,将u盘的“竞赛资料\模块D”下的text.txt拷贝到c:\doc下,并重命名为key_bak.txt(c:\doc目录当前不存在要求自动创建,若doc中也存在一个key_bak.txt文件,会询问否覆盖)
3.在cmd窗口,在key_bak.txt文件里查找“ok”字样,找到了显示“成功”,没找到显示“不成功”。
4.在cmd窗口,只查看当前计算机的初始安装日期和系统启动时间。
5.给工作站计算机添加myuser用户,授予远程关机的权限,然后从服务器计算机上进入cmd窗口,执行将工作站电脑关机指令(延时5秒),工作站电脑出现“正在关机”,计时5秒后,工作站关机。
6.完成以上任务后请做以下步骤:
(1)执行将u盘的“竞赛资料”目录树结构生成到B-5-1.txt的命令行语句,将执行结果截图,另存为B-5-1.jpg。
(2)执行两次拷贝命令,出现询问是否覆盖的提示时截图,另存为B-5-2.jpg。同时将key_bak.txt也提交到U盘提交资料目录。
(3)在key_bak.txt文件里查找“ok”字样,执行结果截图,另存为B-5-3.jpg。
(4)在cmd窗口,只查看当前计算机的初始安装日期和系统启动时间,将查询结果界面截图,另存为B-5-4.jpg。
(5)将工作站电脑出现“正在关机”的界面截图,另存为B-5-5.jpg。
任务B-6:系统安全维护
在物联网系统中通常会发生一些安全问题,作为物联网工程师需对系统进行安全的配置。请对服务器电脑上部署的虚拟机Ubuntu操作系统进行安全维护工作,并使用账号、密码登录系统,完成指定的功能配置。
任务要求:
1.开通root用户的SSH权限。
2.工作站电脑通过SSH软件,以root用户远程登录Ubuntu系统,
3.在/home/iotuser目录下新建Files目录。
4.利用U盘资料提供的WINSCP工具将ubuntu/ethtool.tar.gz文件,上传到/home/iotuser/Files目录下。
5.解压缩ethtool.tar.gz,得到ethtool_5.4.1_amd64.deb安装文件。
6.命令查询ethtool_5.4.1_amd64.deb文件权限,然后授予该文件所有权限。
7.手动安装ethtool_5.4-1_amd64.deb。
8.命令行查询Ubuntu虚拟机网卡的工作状态,查询结果如图:
注:图中网卡eth0仅供参考,以Ubuntu虚拟机实际网卡名为准。
9.完成以上任务后请做以下步骤:
(1)使用SSH工具,以root用户登录Ubuntu系统,将登录成功界面截图,要求截图体现登录端IP,另存为B-6-1.jpg。
(2)请使用命令查询当前网络ip地址,请将查询结果界面截图(要求截图中可以看到具体的命令),另存为B-6-2.jpg。
(3)请将ethtool_5.4.1_amd64.tar.gz解压命令写入文本文件,另存为B-6-3.txt。
(4)查看 ethtool_5.4.1_amd64.tar.gz解压目录占用空间大小的界面截图,要求截图体现命令行语句,另存为B-6-4.jpg。
(5)命令查询ethtool_5.4.1_amd64.deb文件权限情况后,授予该文件所有权限,然后再次查询ethtool_5.4.1_amd64.deb文件权限情况并截屏,要求截屏包含两次查询文件权限结果,并用红圈圈出权限差异,截图另存为B-6-5.jpg。
(6)手动安装tool_5.4-1_amd64.deb完成后将安装界面截屏,截屏体现安装命令,截图另存为B-6-6.txt。
(7)查询Ubuntu虚拟机网卡工作状态并截屏,截屏要体现查询命令,另存为B-6-7.jpg。
任务B-7:硬件设备维护
请根据任务要求完成硬件设备的维护。
任务要求:
1.找到一个联动控制器,要求通过拨码开关将设备地址设置成18。
2.将设备地址未知的GPS/北斗定位模块接上电源,通过RS232/RS485转换器和USB转串口线直接连接任务计算机(串口指定COM10,波特率9600),在任务计算机上打开串口调试工具,参考提供的资料“北斗设备.pdf”,发送查询北斗定位模块当前设备地址的命令帧,串口调试工具显示接收到的查询结果响应帧。
3.在PC上的串口调试工具上,发送设置北斗定位模块设备地址的命令帧,将GPS/北斗定位模块设备地址修改为08。
4.发送读取北斗定位模块实时经纬度值的命令帧,串口调试工具接收返回的经纬度数据帧如下:
| 接收报文 | 01 03 46 24 47 4E 52 4D 43 2C 30 36 30 38 32 31 2E 30 30 2C 56 2C 32 36 30 31 2E 32 39 38 32 39 2C 4E 2C 31 31 39 32 34 2E 33 39 37 38 35 2C 45 2C 30 30 35 2E 36 2C 32 31 31 2E 33 2C 30 36 30 37 32 32 2C 4F 4B 2A 31 45 78 89 |
5.任务完成后提交以下资料:
(1)联动控制器拨码开关地址设置完成后,使用网络摄像头拍摄拨码开关位置,另存为B-7-1.jpg。
(2)将GPS/北斗定位模块设备地址查询命令帧和响应帧界面截屏,另存为B-7-2.jpg。
(3)用串口调试工具发送设置北斗定位模块设备地址为08的命令帧和响应帧的界面截图,另存为B-7-3.jpg。
(4)利用U盘资料提供的“字符进制转换工具”,将北斗定位模块接收报文中的Hex定位数据转换为ASCII字符串;按协议文档解析出数据,将接收报文的经纬度数据、定位时间(北京时间年月日时分秒)另存为B-7-4.txt。
模块C:物联网辅助开发和调试(20分)
根据要求完成相应的任务,本模块的结果文件需保存到服务器计算机上的“D:\提交资料\模块C”文件夹下,同时将该文件夹全部拷贝到赛事统一发放的U盘根目录下,比赛结束后该U盘作为比赛成果提交。
任务C-1:CC2530辅助开发
要求开发编写一个按键控制的程序。选手需要使用1个ZigBee节点盒,新建工程完成相关功能开发。
任务要求:
1.ZigBee节点盒通电或重置,节点盒的LED1闪烁2秒熄灭, LED2灯一直保持熄灭状态。
2.长按SW1键不松开,LED1灯亮,LED2灯熄灭。
3.松开SW1键,LED1、LED2亮灯都常亮。
4.双击SW1可以控制LED1灯实现呼吸灯效果,LED2灯保持熄灭状态。
5.再次双击SW1可以控制LED1维持当前亮度不再发生变化, LED2继续保持熄灭状态。
6.将编写好的程序发布到蓝色ZigBee节点盒中。
7.完成以上任务后请做以下步骤:
(1)将ZigBee节点盒安装到B面工位的B-Q3区域中,在小辣椒天线上贴上标签纸,标签纸写上“C-1”,通上电源等待裁判评分。
(2)把工程源码打包成压缩文件,另存为“C-1-ZigBee.rar”。
任务C-2:STM32辅助开发
要求编写一个显示屏显示控制程序,可以实现显示屏上显示内容的控制功能。选手需要找到1个NB-IoT模块在提供的工程项目中完成相关功能开发,并发布程序到NB-IoT模块中,通上电源等待裁判评判。
任务要求:
1.程序界面如下
2.程序要求在显示屏上文字“预祝顺利”以间隔1秒的频率实现文字从右往左滚动,当文字滚动抵达左侧以后,再向右侧滚动。当文字滚动抵达右侧以后,再向左滚动,形成连续左右滚动文字的显示效果。具体的显示效果如图上编号所示(重复从④到⑩)。
3.完成以上任务后请做以下步骤:
(1)将NB-IoT模块放到智能节点盒中,然后将智能节点盒安装到中间工位的B-Q3区域中,在天线上贴上标签纸,标签纸写上“C-2”,通上电源等待裁判评分。
(2)把工程源码打包成压缩文件,另存为“C-2-NBIOT.rar”。
任务C-3:数据采集与控制
新建Python项目根据任务要求完成相应功能开发,并根据要求将程序发布exe可执行文件,正常运行等待裁判评判。


任务要求:
1.竞赛资料中提供了所需的图片素材。
2.工作站电脑通过USB转串口线和RS485/RS232转换器直连水浸传感器。
3.要求程序每隔5秒,通过串口读取水浸传感器的监测信号。默认状态下显示正常水位背景图,当水浸传感器探头浸没水中触发报警信号时,显示警戒水位背景图。
4.完成以上任务后请做以下步骤:
(1)程序开发完成后需将工程打包成exe可执行文件,另存为“C-3-河道水位.exe”。
(2)将可执行文件在服务器电脑上正常运行,等待评委核验。
(3)把工程源码打包成压缩文件,另存为“C-3-河道水位源码.rar”。
任务C-4:环境监控应用辅助开发
新建Python应用程序,利用竞赛资料提供的文档说明、图片等资源,实现程序的开发,模拟应用软件对设备的控制。
任务要求:
1.通过调用物联网云服务系统API接口(详见物联网云服务系统API接口概览 – “http://192.168.0.138/doc/api/”),获取“物联网云服务系统系统”中选手个人账户下建立的光照度传感器(C-Q3),每30秒采集一次云服务系统上光照度传感器最新上报的10条数据;
2.“竞赛资料/模块C/Python环境安装包_3.9.5/”目录下提供了python3.9.5版本安装包,请确认该版本已安装。
3.“竞赛资料/模块C/Python第三方组件包/”目录下提供了Python第三方组件包,请依照软件包清单文件进行批量安装。
4.“竞赛资料/模块C/Python环境安装包_3.9.5/amd64/”目录下提供了pip、pyinstaller、setuptools、wheel的tar.gz升级包,请在第三方组件包批量安装完成后进行版本比对,未安装或者已安装版本较低的手动升级到最新版本。
5.使用新安装的组件包prettytable,在vscode或pycharm控制台表格列表且按记录时间升序显示最新10条采集数据(字段:设备标识,记录时间,光照值);
6.利用新安装的matplotlib组件包,将上表显示成折线图,折线图的横轴标注为记录时间,纵轴标注为光照值,参考如图:
7.任务完成后提交以下资料:
(1)将工程打包成exe可执行文件,另存为“C-4-环境监测.exe”。将可执行文件在服务器电脑上正常运行,等待评委核验。
(2)把工程源码打包成压缩文件,另存为“C-4-环境监测源码.rar”。
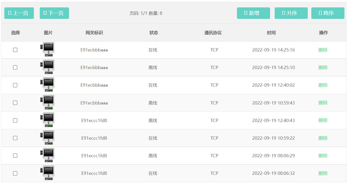
任务C-5:物联网项目原型设计
使用Axure原型绘制软件根据要求完成原型设计。竞赛资料中提供了所需素材与原型电子档供选手参考。
任务要求:
请参赛选手根据U盘提供不完全的原型设计文件-“数据集实例(不全).rp”,完成如下任务要求。
完成原型界面功能如下:
1.用例1:”网关在线记录-不全.rp“底图上已经添加图中8条数据的list,要求正常显示出来。
2.用例2:新增,实现在数据集最后添加一条记录,同时页面数量相应增加1条;使总条数超过10条显示页数加1页。
3.用例3:上一页,实现向前翻页,到第1页停止。
4.用例4:下一页,实现向后翻页,到最后1页停止。
5.用例5:升序,实现数据集按时间升序排列,同时显示第一页。
6.用例6:降序,实现数据集按时间降序排列,同时显示第一页。
7.用例7:单个删除,删除按钮所在行数据被删除,同时页面数量相应减少1条。
8.用例8:图片列显示网关图片。
9.完成以上任务后请做以下步骤:
(1)将生成的Axure工程文件,另存为“C-5-原型.rp”。
(2)将生成的HTML页面打包成压缩文件,另存为“C-5-原型HTML.rar”。
